1. 서 론
2. 방법론
2.1 이변량 확률분포형
2.2 이변량 자료의 지역빈도해석
2.3 다변량 확률수문량
2.4 적합도 평가방법
3. 적용 대상
4. 결 과
4.1 지역 주변확률분포의 적합도 검정
4.2 지역 Copula 모형의 적합도 검정
4.3 이변량 지역빈도해석의 적용성 평가
4.4 확률수문량 곡선 추정
5. 결 론
1. 서 론
수공학분야에서 빈도해석은 극한 현상을 모의하거나, 수공구조물의 설계기준을 산정하기 위해서 널리 사용되고 있다. 전통적으로 일변량 자료에 대한 빈도해석이 수공학분야에서 널리 사용되어 왔다. 다변량 자료를 이용할 경우 일변량에서 분석할 수 없는 다양한 정보를 얻을 수 있기 때문에 다변량 자료를 이용한 빈도해석이 연구되었다. 국내에서도 극한 강우와 가뭄과 같은 다양한 극한 현상에 대해서 다변량 빈도해석이 연구되고 있다(Joo et al., 2012; Kim et al., 2016a).
다변량 자료는 자료의 차원이 증가하기 때문에 정확한 분석을 위해서는 일변량 자료보다 매우 많은 수의 자료가 필요하다. 예를 들어, 이론적으로 이변량 자료의 경우 30개의 일변량 자료로 표현할 수 있는 자료의 정확도를 얻기 위해서는 최소 900개의 자료가 필요하다(Bellman et al., 1957). 다변량 자료 분석의 자료 수 부족 문제는 다변량 빈도해석에서도 똑같이 발생한다. 수문 분야에서 사용하는 대부분의 자료가 짧은 자료연수를 가지고 있다. 이런 자료 수 부족에 따른 문제를 완화하기 위해 수공학분야에서는 지역빈도해석 기법이 개발되고 적용되어 왔다(Hosking and Wallis, 2005). 지역빈도해석은 수문학적으로 동질한 지역을 구분하여 동질지역 내의 지점 자료가 독립적이고 같은 분포형이 갖는다는 가정을 바탕으로 지점 자료 수 부족 문제를 해결하였다. 우리나라에서는 Heo et al. (2007a, 2007b)이 지수홍수법(index flood method)과 지역형상추정법(regional shape method)을 이용하여 국내 강우자료에 대한 지역빈도해석을 실시하였고 각 기법의 적용성을 평가하였다. 또한 국내 수문 자료들에 대한 많은 지역빈도해석 연구들이 진행되었다(Kim et al., 2008; Lee et al., 2016; Nam et al., 2008).
다변량 빈도해석이 가지는 단점을 극복하기 위해 지역빈도해석기법을 다변량 빈도해석에 적용하는 연구가 많이 진행되고 있다. Chebana and Ouarda (2009)는 이변량 자료에 대하여 copula 모형을 이용한 이변량 지역빈도해석 방법을 제안하였다. 이 연구에서는 일변량 자료에서 사용되는 지수홍수법을 이변량자료에 적용할 수 있도록 수정하였다. Ben Aissia et al. (2015)은 캐나다 연최대 수위-홍수량 자료를 이변량 지역빈도해석을 이용하여 홍수자료를 모의하였으며 빈도해석결과 이변량 지역빈도해석은 주변분포의 적절한 선택이 매우 중요하다는 것을 찾아냈다. Requena et al. (2016)은 다변량 지역빈도해석 기법의 적용 절차에 대한 방법론을 분석하였고 최적화된 적용 절차를 제안하였다. Abdi et al. (2017)은 다변량 지역빈도해석에서 최적화 기법을 이용한 지역 매개변수 추정방법과 불일치 척도를 동시에 산정하는 방법을 제안하였다. Abdi et al. (2017)가 제안한 방법론은 기존의 Chebana and Ouarda (2007, 2009)이 제안한 방법론보다 높은 정확도의 매개변수 추정과 불일치 지점을 선택하는 것을 확인하였다.
다변량 지점빈도해석의 단점을 보완한 다변량 지역빈도해석은 다양한 변수를 고려하여 일변량 빈도해석보다 많은 정보를 얻어 낼 수 있고, 지점빈도해석보다 안정적이고 정확한 결과를 얻어 낼 수 있는 장점이 있다. 다변량 지역빈도해석의 한국의 강우 자료에 대한 적용성을 평가한 적이 없기 때문에 국내의 강우 자료를 대상으로 다변량 지역빈도해석의 적용성을 검토할 필요가 있다. 지역빈도해석은 크게 수문학적 동질지역 구분과 확률수문량 산정으로 구성되어 있다. 이변량 분포형을 이용한 연최대강우량-지속기간의 모형은 고정된 지속기간에 대한 강우강도식을 실제 자연현상에 보다 가깝게 재현할 수 있고 또한 강우생성모형에서 강우량과 지속기간을 발생시킬 때의 두 변량간의 관계를 표현 할 수 있는 장점이 있다. 이런 특징들 때문에 현재 이변량 분포형을 이용한 연최대강우-지속기간 모형화에 대한 연구가 진행되고 있다. 연최대 강우량-지속기간 자료에 대한 수문학적 동질지역 구분에 대한 연구는 Shin et al. (2018)이 수행하였다. 본 연구에서는 Shin et al. (2018)의 후속 연구로 이변량 지역빈도해석에서 매개변수 추정방법, 최적 확률분포형 선정, 확률수문량 산정에 대한 연구를 진행하여 국내 연최대 강우량-지속기간 자료에 대한 이변량 지역빈도해석의 적용성을 평가하였다.
2. 방법론
2.1 이변량 확률분포형
본 연구에서는 copula 모형을 이용하여 이변량 확률분포형을 유도하였다. Copula 모형은 다른 두 확률분포형을 결합하여 이변량 확률분포모형을 유도하는 기법이다. Copula 모형을 Eq. (1)과 같이 정의될 수 있다(Nelsen, 2006).
(1)
여기서, u와 v는 copula 모형의 확률변수를, 𝜃c는 copula 모형의 매개변수를 나타낸다. u와 v가 증가할수록 copula 모형으로부터 계산되는 비초과확률이 커지는 특징을 가지고 있다. 이런 특징으로 인하여 u와 v를 기존에 사용되는 일변량 확률누적함수의 확률 값으로 대체할 수 있다. 최종적으로 본 연구에서 사용되는 이변량 분포형은 Eq. (2)와 같은 형태를 가지게 된다.
(2)
여기서, F는 이변량 누적확률분포모형, FX는 X변수의 누적확률분포모형, FY는 Y변수의 누적확률분포모형, 𝜃x는 FX의 매개변수, 𝜃y는 FY의 매개변수를 나타낸다. 본 연구에서는 확률변수로는 연최대 강우사상의 강우량(x)과 강우 지속기간(y)을 사용하였다. Copula 모형으로는 수문 분야에서 널리 사용되고 있는 Clayton, Frank, Gumbel copula를 사용하였다. 각 copula 모형의 수식은 Table 1에 정리되어 있다.
Table 1. Information of the employed copula models
| No. | Model | Copula function | Parameter domain |
| 1 | Clayton | ||
| 2 | Frank | ||
| 3 | Gumbel |
주변분포모형으로는 일반적인 확률모형과 극치강우에 많이 사용되는 generalized extreme value (GEV), generalized logistic (GLO), generalized normal (GNO), generalized pareto (GPA), Gumbel (GUM), normal (NOR) 분포형을 적용하였다. 적용된 주변분포모형의 누적확률분포(cumulative distribution function, CDF)는 Table 2에 정리되어있다.
Table 2. Employed marginal probability distributions (note that 𝜉, 𝛼, k, and, 𝛷(y) indicates location parameter, scale parameter, shape parameter, and cumulative distribution function (CDF) of the standard normal distribution, respectively)
| No. | Model | Cumulative distribution function (CDF) |
| 1 | GEV | |
| 2 | GLO | |
| 3 | GNO | |
| 4 | GPA | |
| 5 | GUM | |
| 6 | NOR |
2.2 이변량 자료의 지역빈도해석
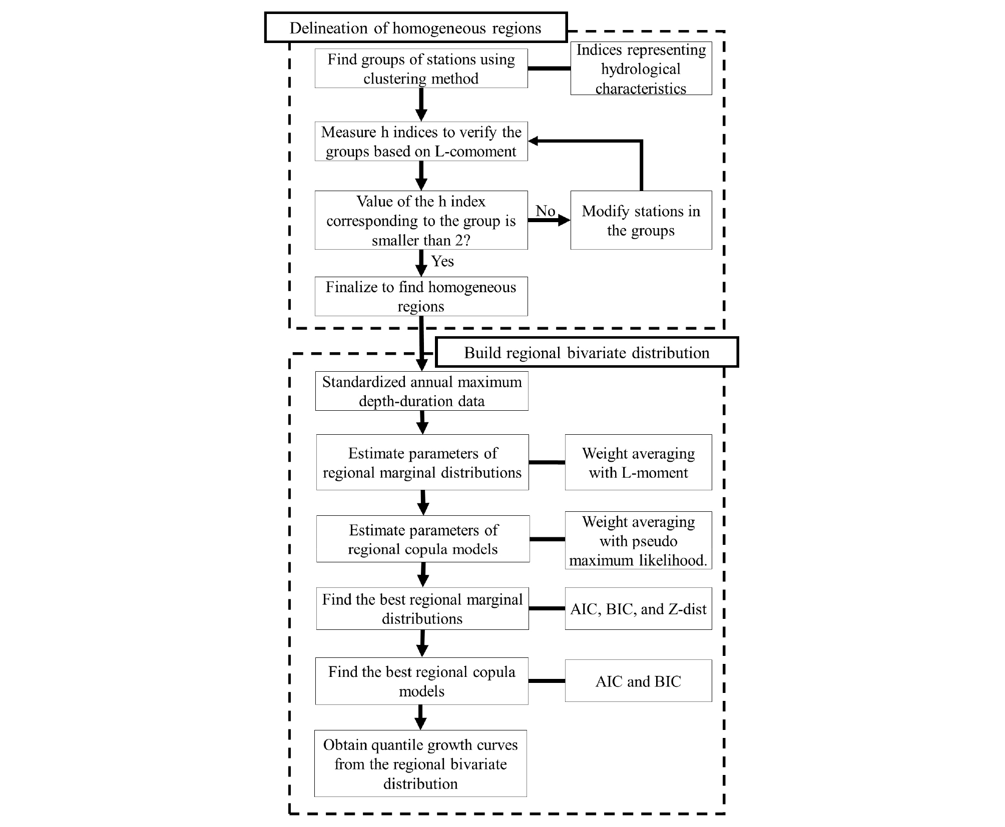
지역빈도해석은 크게 두 단계로 나누어져 있다. 첫 번째 단계는 동질지역 구분으로 지역빈도해석을 실시하기 위한 지점들의 집합을 구하는 단계이다. 두 번째 단계는 동질지역 내에서 지역 확률수문량 성장곡선을 구하는 단계이다. 본 연구에서는 두 번째 단계인 동질지역 내에서 지역 확률수문량 성장곡선을 구하는 단계에 관하여 연구를 진행하였다. 수문학적 동질지역을 구분하기 위해서는 우선 군집분석을 통하여 개략적인 수문학적 동질지역을 만든 다음, 생성된 군집안의 지점 자료들이 동질한지를 L-comoment의 기반의 이질성척도를 이용하여 판단한다. 동질지역 구분에 대한 자세한 절차 및 내용은 Shin et al. (2018)의 논문에 자세히 설명되어 있다. 이변량 자료의 지역빈도해석의 전체적인 절차는 Fig. 1에 나타나 있다.
본 연구에서 Chebana and Ouarda (2009)가 제안한 지수홍수법을 기반으로 개발된 이변량 지역빈도해석 방법을 채택하였다. 지수홍수법은 지점의 관측자료를 특정 지점의 지수로 표준화하여 자료의 축척을 제거하여 동질지역 내에서의 다른 지점들의 자료들이 같은 확률분포모형을 따른다는 가정을 기반으로 지역빈도해석을 실시한다. 지수홍수법을 실시하기 위해서는 지점의 각 관측자료를 특정 지수를 이용하여 표준화를 시켜주어야 한다. 본 연구에서는 표준화를 위한 지수로는 각 지점의 관측자료의 평균값을 사용하였다. Eq. (3)은 표준화된 관측자료를 산정하는 식을 나타낸다.
(3)
여기서, xij는 j번째 지점의 i번째 관측자료, n(j)는 j번째 지점의 관측자료 수, N은 동질지역 내 지점의 수, 는 j번째 지점의 관측 값 평균, 는 j번째 지점의 i번째 표준화된 관측자료를 나타낸다. 표준화된 관측자료를 이용하여 지역 주변분포모형의 매개변수를 추정한다. 지역 주변분포모형의 매개변수를 추정하기 위해서는 동질 지역 내의 지점들의 평균 L-moment를 산정하여야 한다. 지역 평균 L-moment는 표준화된 관측 자료를 이용하여 산정된 L-moment를 지점의 자료 수를 가중치로 이용한 가중평균을 통하여 산정된다. Eq. (4)는 지역 평균 L-moment를 산정하는 식이다(Hosking and Wallis, 2005).
(4)
여기서, 𝜆jk는 j번째 지점의 k차 L-moment, 는 k차 지역 평균 L-moment를 나타낸다. 산정된 지역 평균 L-moment를 이용하여 각 확률분포형의 매개변수를 추정하고, 추정된 매개변수는 해당 확률분포형의 지역 매개변수가 된다. L- moment를 이용한 일변량 확률분포형의 매개변수 추정방법은 Hoksing and Wallis (2005)에 자세히 설명되어 있다. 지역 주변분포형의 매개변수를 추정하게 되면 지역 copula 모형의 매개변수를 추정하게 된다. 수치해석 기법을 이용해서 L-comoment를 이용하여 copula 모형의 매개변수를 추정할 수 있으나, copula 모형에 따라서 매개변수 추정이 힘든 경우가 많다(Brahimi et al., 2015). 이런 문제를 극복하고자, Chebana and Ouarda (2009)는 표준화된 자료를 이용하여 대상 지점의 copula 모형의 매개변수를 가중 평균하여 지역 copula 모형의 매개변수를 추정하는 방법을 제안하였다. 지점의 copula모형의 매개변수 추정치를 지점의 자료수에 대하여 가중평균하여 지역 copula 모형의 매개변수를 추정한다. 지역 copula 모형의 매개변수는 Eq. (5)를 이용하여 산정할 수 있다.
(5)
여기서, 𝜃j는 j 지점의 copula 모형의 매개변수를 나타낸다. 𝜃j를 추정하는 방법으로는 maximum pseudo-likelihood (MPL) 방법을 적용하였다. MPL방법은 copula 모형의 확률변수인 u와 v를 각 변수의 도시위치 공식을 통해 산정한 다음, 산정된 u와 v 값을 이용해서 우도(likelihood)가 최대가 되는 copula 모형의 매개변수를 추정한다. Eq. (6)은 MPL방법에서 사용되는 대수우도함수(log-likelihood)이다.
(6)
여기서, Ri은 j 지점의 u 변수에서 i번째 자료의 순위, Si은 j 지점의 v 변수에서 i번째 자료의 순위, c는 copula 밀도함수를 나타낸다.
2.3 다변량 확률수문량
기존의 일변량 빈도해석에서는 하나의 확률변수만을 사용하기 때문에 하나의 확률 값에서 하나의 확률수문량을 산정할 수 있다. 이변량 빈도해석에서는 하나의 확률 값에서 하나의 점자료가 아닌 곡선으로 확률수문량이 산정되게 된다. 또한, 두 개의 확률변수를 사용하기 때문에 접근방법에 따라서 다양한 확률 값을 산정할 수 있다. 본 연구에서는 확률수문량의 확률 값을 아래 Eq. (7)과 같이 정하였다. 본 연구에서 이변량 확률분포모형에서 확률수문량은 Eq. (7)과 같이 정의될 수 있다. 본 연구에서는 이변량 모형의 변량으로 연최대강우량과 연최대강우량이 발생한 강우사상의 지속기간을 사용였다. Eq. (7)에서 P는 비초과확률을 나타낸다.
(7)
재현기간은 Eq. (8)과 같이 정하여 사용하였다.
(8)
본 연구에서는 지역빈도해석 기법으로 지수홍수법을 사용하였기에 확률수문량은 최종적으로 Eq. (9)를 통하여 산정할 수 있다.
(9)
여기서, 는 지역 확률수문량 성장곡선을 의미한다.
2.4 적합도 평가방법
빈도해석에서 적절한 분포형을 정하는 것은 전체 과정 중 분석의 정확성과 신뢰성을 높이기 위해서 매우 중요한 과정이라고 할 수 있다. 이변량 지역빈도해석에서는 적용된 지역 copula 모형과 지역 주변분포모형의 적합도를 평가하여 최적 조합을 찾아서 빈도해석을 하여야 한다. Copula 모형의 특성상 다양한 조합이 나올 수 있기 때문에 copula 모형과 주변분포모형의 적합도를 따로 평가하는 것이 일반적이다. 또한, copula 모형과 주변분포모형 조합에 따라서 적용된 모형의 매개변수 개수가 다르기 때문에 모형의 적합도를 평가 시 매개변수 개수를 고려할 수 있어야 한다. 이런 이유로 다변량 지역빈도해석에서는 Akaike information criteria (AIC)와 Bayesian information criteria (BIC)를 적용하여 모형의 적합도를 평가한다(Requena et al., 2016). Eqs. (10) and (11)은 지역 copula모형의 AIC와 BIC식을 나타낸다.
(10)
(11)
여기서, Rm과 Sm은 각각 전체 표준화된 x와 y에서 m번째 자료의 순위를 나타낸다. M은 동질지역 내의 전체 자료 개수를 나타내고 Kc는 copula 모형의 매개변수 개수를 나타낸다. 지역 주변분포함수의 AIC와 BIC는 Eqs. (12) and (13)과 같이 정의 될 수 있다.
(12)
(13)
여기서, 은 m번째 표준화된 x를 나타내고, Kx는 x의 지역주변분포의 매개변수 개수를 나타낸다. 주변분포의 경우 Hosking and Wallis (2005)가 제안한 z-dist 방법을 이용하여 적용된 동질지역내의 분포모형의 적합도를 평가할 수 있다. z-dist는 모의실험을 통하여 동질지역 내의 자료들의 L-moment ratio와 각 적용분포형의 이론적인 L-moment ratio 거리를 이용하여 분포모형의 적합도를 평가하는 방법이다. z-dist가 0에 가까울수록 적합도가 높은 것으로 판단한다. 본 연구에서는 적용된 z-dist를 이용하여 지역주변분포모형의 적합도를 평가하였다. z-dist를 산정하는 자세한 방법은 Hosking and Wallis (2005)에 자세히 설명되어 있다.
빈도해석의 적합성을 평가하는 지수로는 위에서 설명한 AIC와 BIC와 같은 정보량을 기반으로 한 방법 외에도 추정된 확률수문량을 기반으로 적합성을 평가하는 지수들이 있다. 지역빈도해석에서는 상대제곱근오차(relative root mean square error, RRMSE)가 널리 사용되고 있다. RRMSE는 확률수문량을 관측 확률수문량으로 표준화하여 적합도 및 적용성을 평가하는 방법으로 관측 값의 크기 차이에서 오는 영향을 제거하여 모형의 전체적인 적합도 및 적용성의 평가가 가능하다. 본 연구에서는 이변량 지역빈도해석을 실시하기 때문에 기존에 사용되는 지점자료의 확률수문량에 대한 RRMSE가 아닌 확률수문량 곡선 전체에 대한 RRMSE를 계산하여야 한다. 실제 확률수문량의 참값을 알 수 없기 때문에, 본 연구에서는 관측 값 대신 모의실험을 통하여 참값을 가정하고, 이변량모형의 성능을 평가하였다. 이변량 빈도해석에서 사용되는 RRMSE는 Eq. (14)와 같다.
(14)
여기서, 는 추정된 copula 모형에서 P의 비초과확률을 가지고, 관측 값 u일 때의 v변수에 대한 quantile 함수를 나타낸다. 는 경험적인 copula 모형에서 P의 비초과확률을 가지고, 관측 값 u일 때의 v변수에 대한 quantile 함수를 나타낸다. Eq. (14)를 보면 RRMSE식 안에 있는 적분으로 인하여 explicit한 형태의 수식을 얻어내는 것이 힘들기 때문에 수치해법을 적용한다(Chebana and Ouarda, 2009; Requena et al., 2016). 본 연구에서는 몬테카를로 적분을 이용하여 Eq. (14)안의 적분을 계산하였다. 본 연구에서는 긴 재현기간에 대한 RRMSE를 산정하기 위하여 Hosking and Wallis (2005)가 제안한 시뮬레이션 방법을 이변량 방법에 대한 방식으로 수정한 Chebana and Ouarda (2009)가 제안한 시뮬레이션 방법을 이용하여 다양한 긴 재현기간에서의 RRMSE를 산정하였다. Hosking and Wallis (2005)가 제안한 시뮬레이션 방법은 실제 데이터에서 얻어낼 빈도해석모형의 확률수문량의 따른 안정성과 정확도를 평가하는 방법으로 자료에 대한 모형의 적용성을 평가하기에 적절한 것으로 판단된다.
3. 적용 대상
본 연구에서는 기상청 71개 지점 자료를 이용하여 연구를 수행하였으며 제주도, 울릉도, 백령도에 위치한 기상청 지점의 경우, 내륙에 위치한 지점들과 다른 특성을 보이기에 본 연구에서는 섬 지역의 자료는 사용하지 않았다. 사용된 기상청 지점의 위치는 Fig. 2(a)에 표시되어 있으며, 지점명과 자료기간은 Table 3에 정리되어 있다. 이변량 자료를 만들기 위해서 각 지점의 사상 간 무강수시간(inter event distance time)을 산정하여야 하며 본 연구에서는 Song et al. (2016)이 사용한 무강수시간 산정 기법을 이용하여 무강수시간을 산정하였고 산정된 무강수시간을 사용하여 강우 사상을 구분하였다. 각 지점에서 연별 최대 강우량을 가지는 강우사상을 추출하였으며 추출된 강우사상에 대한 강우량과 지속기간에 대하여 이변량 지역빈도해석에 필요한 수문학적 동질지역 구분을 수행하였다. 본 논문에서는 Shin et al. (2018)에서 산정된 이변량 극한 강우에 대한 수문학적 동질지역을 기준으로 지역빈도해석을 실시하였다.
Table 3. Information of the used stations
4. 결 과
4.1 지역 주변확률분포의 적합도 검정
총 5개의 지역에 연최대치 강우사상의 강우량과 지속기간에 대하여 지역 주변확률분포의 매개변수를 추정하고 추정된 매개변수를 기준으로 적합도 검정을 하였다. 각 지역에 대한 각 지역 주변확률분포의 AIC, BIC, z-dist가 Table 4에 정리되어 있다. Table 4에 AIC와 BIC가 표기 안된 지역 주변확률분포모형의 경우, 추정된 매개변수가 적절하지 않아 표기하지 않았다. 형상매개변수가 없는 분포형의 경우 z-dist를 산정할 수 없기 때문에 GUM과 NOR은 z-dist를 산정하지 않았다. Table 4를 보면 GNO가 1번 지역에서 AIC를 기준으로 강우량을 가장 잘 표현하는 것으로 나타났고, 2번과 5번 지역에서는 GEV가 3번과 4번 지역에서는 GPA가 AIC를 기준으로 가장 적합도가 높은 것으로 나타났다. 지속기간을 기준으로는 1번과 2번 지역은 GEV가, 3번 지역은 GPA가, 4번과 5번 지역은 GNO가 AIC를 기준으로 적합도가 가장 높은 것으로 나왔다. BIC를 기준으로 하면 3번과 4번 지역의 강우량과 3번 지역의 지속기간을 제외하고는 GUM이 가장 적합도가 높은 것으로 나왔다. BIC의 경우 자료의 개수가 많아질 수록 매개변수 개수에 의한 영향을 크게 평가하기 때문에 BIC기준으로는 매개변수 개수가 적은 GUM이 선택되는 것으로 나타났다. z-dist를 기준으로는 강우량의 경우 1번, 2번, 3번, 4번 지역에서 GPA이 5번 지역에서는 GLO가 높은 적합도를 보였다. 지속기간의 경우 1번과 5번 지역에서는 GPA가 2번 지역은 GNO가 3번과 4번 지역은 GEV가 높은 적합도를 보였다. 적합도 평가 기준에 따라서 선택되는 최적분포형이 다르기 때문에 하나의 기준을 정해서 사용할 필요가 있다. BIC의 경우 자료 개수의 따른 가중치가 너무 크다고 판단되고 z-dist의 경우 매개변수 개수의 영향을 고려하지 못하기 때문에 본 연구에서는 AIC값을 기준으로 최적 분포형을 선택하였다. 지역별로 선택된 지역 주변 확률분포모형과 지역 매개변수는 Table 5에 정리되어 있다. 강우량을 기준으로는 2번과 5번 지역이 흡사하고, 3번과 4번이 흡사한 것으로 나타났다. 지속기간의 경우 1번과 2번 지역이 흡사했고, 4번과 5번 지역이 흡사한 것으로 나타났다.
Table 4. Goodness of fit measures of the tested frequency distribution models for regional marginal distributions
Table 5. The best bivariate joint distributions with their parameter estimates based on the employed criteria for each region
4.2 지역 Copula 모형의 적합도 검정
총 5개의 지역에 적용된 세 개의 copula 모형에 대해서 지역 매개변수를 추정하였고, 추정된 매개변수에 대한 AIC와 BIC를 산정하여, 각 copula 모형의 적합도를 평가하였다. 지역 copula 모형의 AIC와 BIC를 각 지역에 관하여 Table 6에 정리하였다. 적용된 copula 모형의 매개변수 개수가 한 개로 같기 때문에 같은 지역 내에서 AIC와 BIC의 copula 모형의 상대적인 순위가 같다. 1번, 2번, 3번 지역에서는 Gumbel copula 모형이 가장 적합한 것으로 나왔고, 4번과 5번 지역에서는 Frank copula모형이 가장 적합한 것으로 나타났다. Frank copula 모형의 경우 극치 copula (extreme value copula)가 아니지만 AIC를 기준으로 가장 낮은 값을 보였기 때문에 최적 copula 모형으로 선택하였다. 지역별로 선택된 지역 copula 모형과 지역 매개변수는 Table 5에 정리되어 있다. 두 확률변수의 상관성을 기준으로는 1번, 2번, 3번 지역이 흡사한 것으로 나타났고, 4번과 5번이 흡사한 것으로 나타났다.
Table 6. AIC and BIC of the tested copula models for regional copula model
4.3 이변량 지역빈도해석의 적용성 평가
Table 5는 선택된 최적 주변분포형과 copula 모형과 모형들의 지역 매개변수를 정리해 놓은 표이다. 각 지역에서 확률변수간의 상관성, 강우량, 지속기간으로 보았을 때, 흡사한 부분이 있지만 최적 copula모형, 최적 주변분포모형, 매개변수 추정치 모두가 흡사한 지역이 없는 것으로 보아 지역 구분이 적절히 이루어 진 것으로 판단된다. Fig. 3에 각 지역의 지점빈도해석과 지역빈도해석의 RRMSE 값을 비교하였다. 비교결과 각 지역에 대해서 지역빈도해석의 RRMSE 값이 지점빈도해석의 RRMSE 값보다 작은 것을 확인 할 수 있었다. RRMSE 값이 작을수록 모형의 안정성 및 정확도가 높은 것을 의미하기 때문에 이변량 자료에 대해서도 지역빈도해석이 지점빈도해석보다 안정적이고 정확한 빈도해석 결과를 제공하는 것을 확인할 수 있었다. Fig. 4는 서울, 강릉, 대전, 대구, 고흥, 부산지점에 대해서 지역빈도해석과 지점빈도해석의 RRMSE 값을 비교하였다. 모든 지점에서 지역빈도해석의 RRMSE 값이 지점빈도해석보다 작은 것을 확인할 수 있었다. 작은 비초과확률에서 지점빈도해석의 RRMSE 값이 지역빈도해석보다 낮은 것이 확인 되었으나, 본 연구에서는 극한 강우사상에 집중하였기에 높은 비초과확률에 대한 RRMSE 값이 작은 지역빈도해석이 보다 적절한 빈도해석 방법으로 판단된다. 몇몇 지역에서 저빈도에서 지점빈도해석이 지역빈도해석보다 낮은 RRMSE를 보인다. Hosking and Wallis (2005)는 지점의 자료수가 굉장히 많을 경우에는 지점빈도해석의 정확도가 지역빈도해석의 정확도보다 비슷하거나 높을 수 있다고 하였고 저 빈도를 가지는 관측자료가 많기 때문에 매우 낮은 빈도에 대해서는 지역빈도해석이 지점빈도해석 보다 낮은 정확도를 보일 가능성이 있다.
4.4 확률수문량 곡선 추정
Fig. 5는 각 지역의 표준화된 관측 강우량-지속기간 자료와 재현기간 10년, 100년 500년에 대한 확률수문량 성장곡선을 도시한 것이다. Figs. 5(a)~5(c)를 보면 도시된 표준화된 관측 값이 Gumbel copula의 형태를 보이는 것을 확인할 수 있다. 특히 1번 지역의 관측 값의 경우 Gumbel copula 모형의 분포형태를 매우 잘 표현하고 있는 것을 확인할 수 있다. Figs. 5(d) and 5(e)를 보면 각 변수의 값이 커짐에 따라서 자료의 산포도가 크게 변하지 않는 것을 확인할 수 있다. 이런 산포도는 Frank copula 모형의 자표 분포 특징으로, 선택된 최적 분포모형이 적절한 것을 확인할 수 있다. 1번 지역을 제외하고는 재현기간 100년을 이상을 가지는 관측 값이 존재하지 않는 것을 확인할 수 있었다. 지역빈도해석을 실시했어도, 긴 재현기간에 해당하는 관측 값이 많이 확보되지 않는 것을 확인할 수 있다. 두 변수가 다 큰 값을 가져야지만 높은 재현기간을 가지기 때문에 자료 수와 비교해서 긴 재현기간을 갖는 관측 자료가 부족한 것으로 판단된다. 이런 결과를 통하여 다변량 빈도해석을 하였을 때, 기존의 지점빈도해석 접근 방식으로 긴 재현기간의 자료를 정확히 모의하는 것이 매우 힘들 것이라는 것을 유추할 수 있다.
Fig. 6은 서울, 강릉, 대전, 대구, 고흥, 부산 지점의 연최대 강우량-지속기간 관측자료, 지점빈도해석과 지역빈도해석의 확률수문량 성장곡선을 도시한 그림이다. 실선은 지역빈도해석의 확률수문량 성장곡선을 점선은 지점빈도해석의 확률수문량 성장곡선을 나타낸다. 각 지점을 기준으로 보면 대전과 부산 지점을 제외하고는 관측 값 중 재현기간이 50년 빈도를 넘는 자료가 없는 것을 확인할 수 있다. 대부분의 지점빈도해석과 지역빈도해석으로 산정된 확률수문량 성장곡선이 큰 차이를 보이지 않는 것을 확인 할 수 있었다. 단 재현기간이 커질수록 두 곡선간의 차이가 커지는 것을 확인할 수 있었다. 대전지점의 경우 두 빈도해석으로 얻어낸 재현기간 10년인 확률수문량 성장곡선은 차이가 크지 않으나 재현기간 50년과 100년의 경우 두 빈도해석 방법이 큰 차이를 보이는 것을 확인할 수 있다. 또한, 지점의 자료수가 작을수록 두 방법의 확률수문량 성장 곡선의 차이가 큰 것을 확인 할 수 있었다. 지점에 따라서 다르지만, 지역빈도해석으로 산정된 확률수문량 성장곡선이 지점빈도해석으로 산정된 확률수문량 성장곡선보다 작은 값을 가지는 것을 확인할 수 있다.
연최대강우량-지속기간 빈도해석의 경우 지속의 사용되었던 수자원구조물 설계에 사용되었던 강우강도식의 물리적인 한계적을 극복하여 보다 현실적인 확률강우량을 산정하는 것이 가능하고, 또한 강우발생 모형 등에서 사용되는 강우량-지속기간 관계를 보다 정확하게 모의 할 수 있을 것으로 기대된다.
5. 결 론
본 연구에서는 이변량 지역빈도해석기법의 한국의 극한 강우사상 관한 적용성을 평가하였다. 분석 자료로는 연최대 강우량-지속기간 자료를 사용하였다. 5개의 확률분포모형과 3개의 copula 모형을 적용한 연구결과 다음과 같은 결론을 얻을 수 있었다.
1) 연최대 강우량-지속기간 자료를 이용하여 동질지역 구분을 할 경우 5개의 지역으로 구분할 수 있으며, 지역별 최적분포형 결과를 보면 구분된 지역이 이변량 지역빈도해석을 적용하기에 적절한 것으로 나타났다.
2) 최적 copula 모형으로는 Gumbel copula 모형이 가장 많이 선택되었다. 적용 copula 모형 중 Gumbel copula 모형만이 극치copula모형으로, 분석에 사용된 자료가 극치자료이기 때문에 이런 결과가 나타난 것으로 판단된다.
3) 주변분포모형의 경우 지역별로 최적분포형이 다른 것으로 나타났다. 각 변수만 보았을 경우 최적분포형으로 같은 분포형이 선택되고 매개변수 추정치도 비슷한 경우가 있으나, 두 변수의 최적분포형 조합으로 보았을 때는 같은 지역이 없는 것으로 나타났다.
4) 한국의 연 최대 강우량-지속기간 자료에 대해서 지역빈도해석이 지점빈도해석보다 안정적이고 정확한 확률수문량 곡선을 추정하였다. RRMSE를 기준으로 지역빈도해석이 지점빈도해석보다 뚜렷하게 우월한 성능을 보이는 것으로 확인되었다. 특히 지역빈도해석이 지역빈도해석보다 긴 재현기간의 확률수문곡선 추정 정확도가 높은 것으로 나타났다.
5) 지점의 자료수가 작을수록 두 방법의 확률수문량 성장 곡선의 차이가 큰 것을 확인할 수 있었다. 지점에 따라서 다르지만, 지역빈도해석으로 산정된 확률수문량 성장곡선이 지점빈도해석으로 산정된 확률수문량 성장곡선보다 작은 값을 갖는 것으로 나타났다.








